
MIL-DTL-81716A
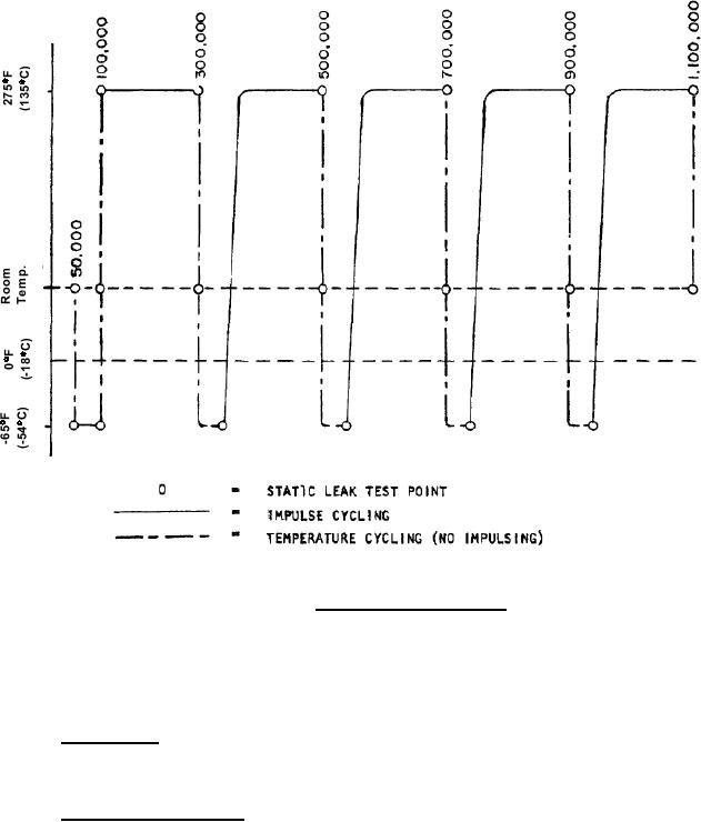
Figure 7. Impulse cycling schedule.
6. Notes.
(This section contains Information of a general or explanatory nature that may be helpful, but
is not mandatory.)
6.1 Intended use. The packings are intended for use in type II class 3000 psi (20.68 MPa)
aircraft hydraulic systems using MIL-PRF-5606 to seal standard tube fittings in bosses as
indicated in MS21344 (sheets 2 and 3).
6.2 Acquisition requirements. Acquisition documents should specify the following:
a.
Title, number, and date of this specification.
b.
MS part number (see applicable MS sheet).
c.
If first article samples are required (see 3.1).
d.
Packaging requirements (see 5.1).
17
For Parts Inquires call Parts Hangar, Inc (727) 493-0744
© Copyright 2015 Integrated Publishing, Inc.
A Service Disabled Veteran Owned Small Business