
INCH-POUND
AN3067 REV. 4
5 August 2008
SUPERSEDING
AN3067 REV. 3
9 July 1954
DETAIL SPECIFICATION SHEET
SEAL ASSEMBLY 3/8 INCH CONDUIT BOSS
Inactive for new design after 22 August 1997
This specification sheet is approved for use by all Departments and Agencies of the Department of
Defense.
The requirements for acquiring the product described herein shall consist of this specification sheet.
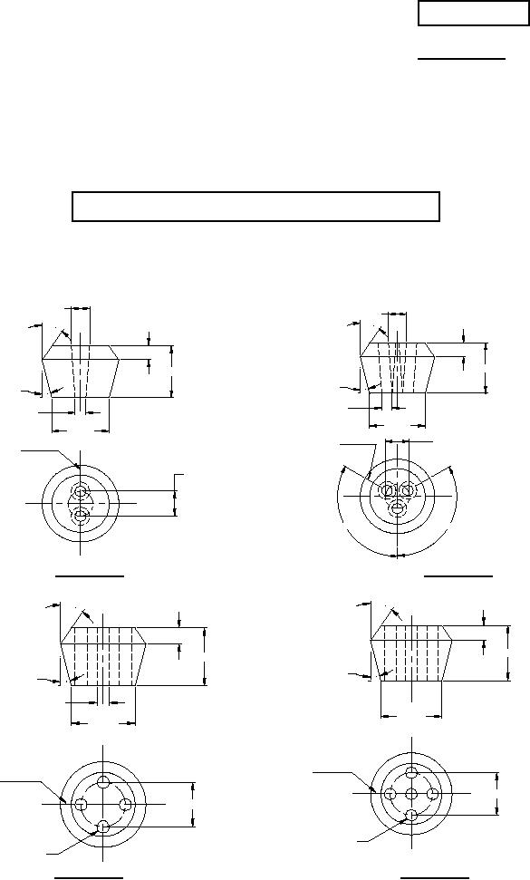
Ø.130 ±.005
Ø.130 ±.005
30°
30°
.094
.094
.344
.344
9°
9°
Ø.100
Ø.100
Ø.438
Ø.438
±.010
KNIFE CUT
±.010
KNIFE CUT
Ø.188
3 REQUIRED
2 REQUIRED
Ø.188
120° ±5°
120° ±5°
FIGURE 1. 2 Hole seal.
FIGURE 2. 3 Hole seal.
30°
30°
.094
.094
.344
.344
9°
9°
Ø.100
Ø.438
Ø.438
±.010
±.010
KNIFE CUT
2 REQUIRED
KNIFE CUT
KNIFE CUT
5 REQUIRED
4 REQUIRED
Ø.250
Ø.250
Ø.080
Ø.080
5 HOLES
4 HOLES
FIGURE 3. 4 Hole seal.
FIGURE 4. 5 Hole seal.
AMSC N/A
FSC 5330